這是一個共創時代,也是社群力量from bottom up的時代。在這社群之夜中,我們期許達到三大目標:
- 透過Demo,讓Pro Maker的努力被社群認識與學習;
- 透過社群回饋,讓Pro Maker的專案能夠找到改進的方向;
- 透過同好交流,讓Pro Maker找到可以共創的好夥伴。
此外,我們也希望藉由這個Meetup,邀集各方意見,一起打造扁平化的Maker to Startup共創性平台。
8月的Meetup,目前已邀請到的主題/分享者如下:
1. Spider Robot 蜘蛛機器人威力演出
分享者:Hsu Regis
有人也在玩Spider Robot?這是個進階級的Maker玩意兒,門檻蠻高的,Regis更跨過組裝的層次,以純手工方式打造了自己的蜘蛛機器人,不只美麗,動起來活靈活現,酷到不行!這次的華山Demo Night他將帶來與大家分享喔!
2. 輕巧的智慧型吉他/貝斯效果器
分享者:房佳弘 開發團隊:Tri-in
約於70年代發展定型後,幾乎沒有改變的單顆效果器總是吉他手與貝斯手沉重的負擔,然而新型態的綜合效果器犧牲了音質卻也無法解決重量問題還多了聲音種類的限制,除此之外記錄方式也未能與時俱進。
活在智慧型手機年代,的我們決定讓這些痛成為歷史,發展輕薄短小且易於使用的效果器。
3. 開源公益環境感測系統 LASS
分享者:哈爸 Wuulong Hsu
專案Logo:
哈爸是個有大夢的人,他自架了一套具備環境感測器網路系統架構,稱它為LASS,並將所有原始碼都開放出來,為的是讓更多人能自己架設環境感測裝置並分享出來,形成一個如Google Map能提供車流量的環境資訊地圖。
他說:「難道真的是夢?五年前是,但在自造者時代,這不是夢,這就是 LASS 要做的事情。」
開源資訊連結:https://github.com/LinkItONEDevGroup/LASS
LASS社群:https://www.facebook.com/groups/1607718702812067/
4. 可自動清洗之湯麵烹煮機
分享者: 湯偉運

靈感來自於義大利濃縮咖啡機 (Espresso) 的烹煮概念 - 美味、快速、方便、優雅、衛生 ..... 基於以上概念 " 可自動清洗之微電腦湯麵烹煮機 " 因而誕生。
針對附有湯品的美食設計的全自動烹調機器人,尤其特別是拉麵,我們開發了比咖啡機的控制動作更細膩的煮麵機,它以科學化的方式來煮麵,要將老師傅的手藝忠實還原;另外,配合新研發的特殊烹煮方式,更可將麵條的口感推上更高的一層,以創新的方式來詮釋好味道的麵食。
此外,要用機器煮拉麵,首先要克服機器必需能自動清洗的問題,為了讓煮出
註:本作品得到台北國際發明展銀牌獎
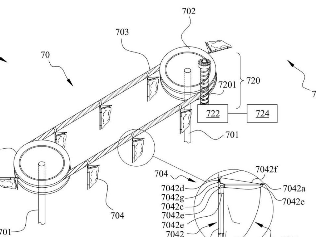
5. 帆纜發電綠能系統
分享者:許議中
議中兄是IT產業的經理人,閒暇的興趣則是「發明」,而且志向很大:希望找到綠色能源的解決途徑。他發現將帆船航行的原理用在風能發電上,可以有效改善傳統風力發電的種種限制。這技術也適合用於洋流發電。
他說:「不論是台灣的高空風能,或黑潮洋流發電,若能有效運用,都足以提供超過全台的電能使用。」
帆纜發電不只是理論,議中兄已做出原型,功能也已驗證可行。他希望結合更多有志一同的Maker夥伴,一起來圓這寶島綠能大夢!
活動議程:
19:00 – 20:20 Show Time
20:20 – 21:00 自由分組交流&Tea Time
主辦單位:
合作單位:資策會創研所 IDEAS Hatch、華山品牌研創中心
MakerPRO & Maker Hatch Night
這是一個以協助Maker to Startup為目標的新創圈開發社群/媒體平台,我們致力於建立完善、深入、實用的Maker to Startup學習、交流活動及分享資源,並進一步發展出基於Collaborative Commons精神的Pro-Maker新世代經營模式與平台。
從數位到實體(online to offline)的自造者運動(Maker Movement),正襲向三大息息相關的領域:從科普教育(for education)到玩家(for fun),到創業(for business)。
今日談創新創業,絕不能忽視Maker to Startup的強大成長動能,而Maker Hatch Night就是希望促成台灣自造社群的交流、共創與邁向市場,在每月的最後一個週四晚上,正是我們的共創社群之夜,將邀請多組Pro Maker來Demo自己的專案作品、創新應用模式,並進行同好社群的回饋交流。
IDEAS Hatch
提供智慧產品技術能量、雛形打造、國內外募資平台上架、行銷、籌資、量產、銷售等跨界整合資源,加速孵育新創團隊智造服務之物聯網創業加速器。歡迎國內各公司成為企業夥伴;有資源需求的Maker/個人/團隊進行線上需求提案加入IDEAS Hatch加速器享豐富資源。(需求提案)



